Запчасти для мотоцикла BMW R 1200 ST (0328,0338) K28

7 последних символов VIN:

Серия: K28

Марка: R 1200 ST (0328,0338)

Регион: США

Дата выпуска: 00 / 0000

Информации по объёмам заливки жидкостей для мотоциклов не предусмотрена.

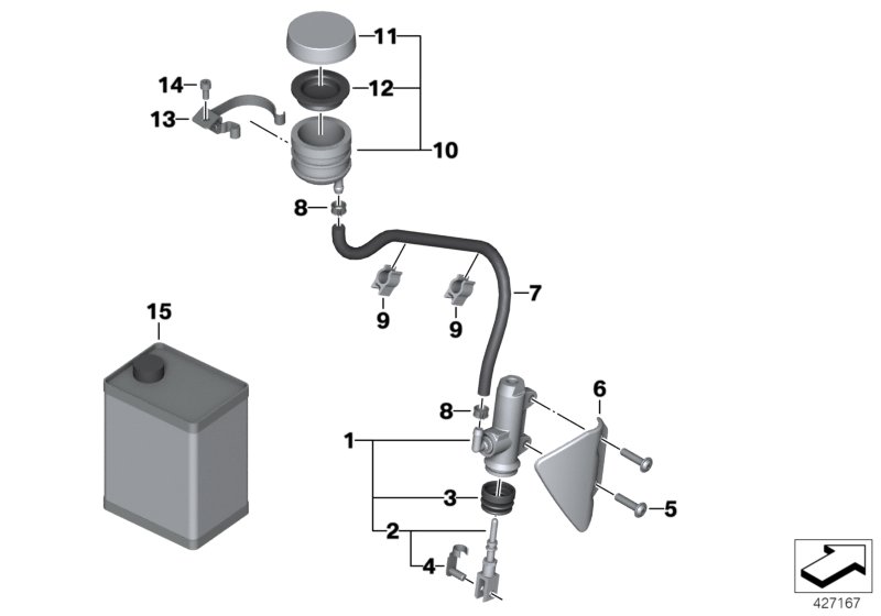
Главный тормозной цилиндр Зд с бачком

Наименование Дополнение Период Вес Статус Номер детали Наличие и цена
Для мотоциклов с
Система Integral ABSX645A = да
01Главный тормозной цилиндрD=14,29MM штс 01 / 2001 0.11734 31 7650749нет в наличии, но можно заказатьУточняйте
у менеджера
Для мотоциклов с
I-ABS 2-го поколенияX630A = да
01Главный тормозной цилиндр Здштс 12 / 2010 108.76034 31 8529423нет в наличии, но можно заказатьУточняйте
у менеджера
Для мотоциклов с
I-ABS 2-го поколенияX630A = нет
и
Система Integral ABSX645A = нет
01Главный тормозной цилиндр Здштс 12 / 2010 108.76034 31 8529423нет в наличии, но можно заказатьУточняйте
у менеджера
Для мотоциклов с
Система Integral ABSX645A = да
02Толкательштс 10 / 2000 по 06 / 20130.029Деталь снята с производстваE34 31 2333519нет в наличии, но можно заказатьУточняйте
у менеджера
Для мотоциклов с
I-ABS 2-го поколенияX630A = нет
и
Система Integral ABSX645A = нет
02Толкательштс 10 / 2000 по 06 / 20130.029Деталь снята с производстваE34 31 2333519нет в наличии, но можно заказатьУточняйте
у менеджера
Для мотоциклов с
Система Integral ABSX645A = да
03гофрированный кожухштс 07 / 2000 0.00234 31 2333518нет в наличии, но можно заказатьУточняйте
у менеджера
Для мотоциклов с
I-ABS 2-го поколенияX630A = да
03гофрированный кожухштс 08 / 2007 0.00134 31 7692791нет в наличии, но можно заказатьУточняйте
у менеджера
04Штифт6X12 штс 08 / 1990 0.00507 12 9934961в наличииот 739 Руб.
05Винт с плоской головкойM6X25 штс 02 / 2005 0.00634 31 7680001нет
06Накладкаштс 02 / 2004 0.02034 31 7673520нет в наличии, но можно заказатьУточняйте
у менеджера
07ШлангL=330MM штс 04 / 2003 по 08 / 20110.019Деталь снята с производстваE34 32 2332451нет в наличии, но можно заказатьУточняйте
у менеджера
08Шланговый зажимD=12,3MMштс 08 / 1983 0.00217 11 1460922в наличииот 296 Руб.
09Держатель шлангаштс 04 / 1998 0.00134 31 2335746нет в наличии, но можно заказатьУточняйте
у менеджера
10Расширительный бачокштс 08 / 1992 0.03834 31 2314082нет в наличии, но можно заказатьУточняйте
у менеджера
11Крышкаштс 08 / 1992 0.01834 31 2314091в наличииот 2 932 Руб.
12Резиновый чехолштс 08 / 1992 0.00734 31 2314092нет в наличии, но можно заказатьУточняйте
у менеджера
13Кронштейнштс 02 / 2005 0.02134 32 7675524нет в наличии, но можно заказатьУточняйте
у менеджера
14Винт ISAM6X12-8.8-ZNNIVштс 03 / 2009 0.00507 12 9905867нет
15Тормозная жидкость DOT4 LV,с низк.вязк.
Original BMW Expert Line мотоцикл

250ML×с 11 / 2018 83 13 2467961нет в наличии, но можно заказатьУточняйте
у менеджера