Запчасти для мотоцикла BMW R 80 RT 2477

7 последних символов VIN:

Серия: 2477

Марка: R 80 RT

Регион: США

Дата выпуска: 00 / 0000

Информации по объёмам заливки жидкостей для мотоциклов не предусмотрена.

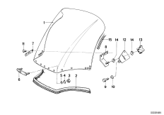
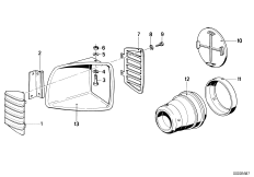
Рама и дополнительные элементы

Основные разделы → Рама и дополнительные элементы

Подразделы

Запчасти