Запчасти для мотоцикла BMW R 100 GS PD 47E2

7 последних символов VIN:

Серия: 47E2

Марка: R 100 GS PD

Регион: США

Дата выпуска: 00 / 0000

Информации по объёмам заливки жидкостей для мотоциклов не предусмотрена.

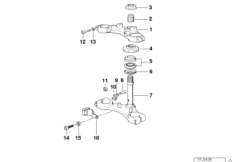
ПО, сист.направл.подвески колеса Пд

Основные разделы → ПО, сист.направл.подвески колеса Пд

Подразделы

Запчасти